Google trabaja en el desarrollo de un mando para videojuegos, que tendrá un aspecto similar al de PlayStation o Xbox, con los mangos en la parte inferior y que incluirá un botón al Asistente de la compañía.
Los datos de una patente registrada por Google muestran el aspecto de lo que será el mando inalámbrico pensado para el juego. El aspecto de este accesorio es similar al del mando de PlayStation o de Xbox, con dos mangos de sujeción y joysticks, con la única diferencia de que incluirá un botón de acceso al Asistente de Google en el centro, y se conectar a dispositivos de inteligentes a través de Bluetooth o Wi-Fi.

En el documento de la patente se aprecia el diseño de este nuevo mando, en su parte derecha se encuentran los botones de acción y en la izquierda los botones de dirección en forma de cruz. Además, en la parte central del mando hay otros tres botones: dos de inicio y navegación y otro algo más grande que es una "almohadilla direccional".
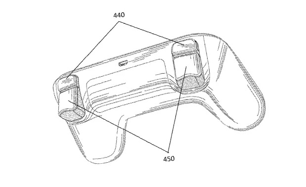
El mando también incluye un pequeño botón posicionado algo más abajo de los dos joysticks con un micrófono dibujado, que supone un acceso directo al asistente de Google. Las últimas dos teclas de este producto se encuentran en su parte trasera, cada una a un lado, y están los gatillos.
Además se podrá conectar tanto a la consola como a smartphones, televisiones o tabletas, pudiendo estar asociado a la vez con otro dispositivo inlámbrico, como otro mando o un teclado.
Este mando alertará de las notificaciones presentes en el dispositivo al que esté enlazado. A través de señales de audio y de luz, gracias aun LED azul, este control remoto avisará de las notificaciones referentes al juego, como invitaciones a partidas o puntuaciones y aquellas que provienen de otras aplicaciones, como mensajes de chat en el smartphone. Además dispondrá de una pequeña memoria de almacenamiento que permitirá al jugador guardar sus preferencias.
Aunque no se especifica en esta patente, Google trabaja también en el desarrollo de un servicio de streaming de videojuegos por suscripción, que se espera que anuncie el 19 de marzo, en Game Developers Conference.
epc